電液式壓力試驗機(YA-2000B)解析:
1、 試驗機結構
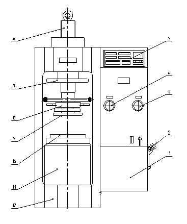
該試驗機主機(圖1)采用整體框架結構形式,其上裝有工作油缸、活塞、上下壓板等。
該試驗機驅動方式為人工控制液壓加荷,采用油壓傳感器測力、數碼顯示。整個系統合于一體、結構緊湊、安裝簡易、使用方便。
1: YA-2000B整機示意圖
圖中:1—液壓源 2—注油孔 3—送油閥 4—回油閥 5—電測儀表 6—調節絲杠副 7—調節手輪 8—調心球頭副 9—上壓板 10—下壓板 11—油缸活塞副 12—機架
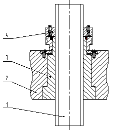
試驗空間為手動調整(C型為電動調整),在絲杠和螺母之間設有間隙消除機構(圖2),采用主、副兩個絲母加彈簧調整,用以消除絲杠絲母之間的串動量。
圖中:1—絲杠 2—承載梁 3—絲母 4—間隙消除機構
圖2:空間調整結構圖
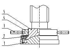
上壓板裝有球頭副結構(圖3),起到自動調心作用,確保試驗力能夠比較均勻地作用在試樣的承壓面上。
圖3:球頭副
圖中:1—上壓板 2—連接套 3—手柄 4—鎖緊螺母 5—球座
上一篇:暫無上一篇
下一篇:電液式壓力試驗機

網站首頁
公司簡介
產品中心
配件中心
成功案例
測試方案






























